

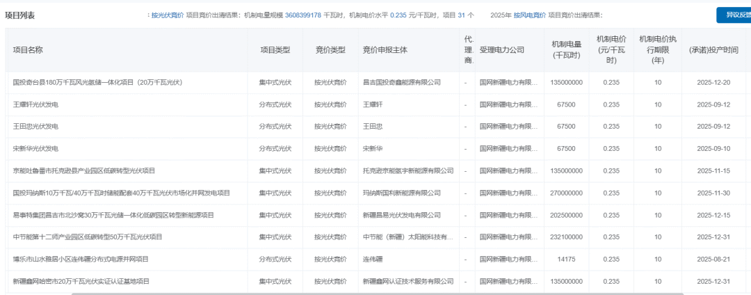
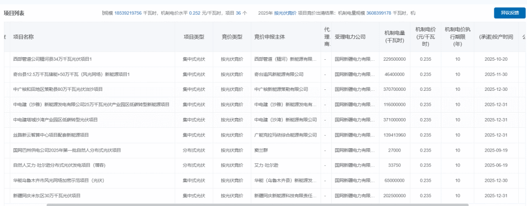
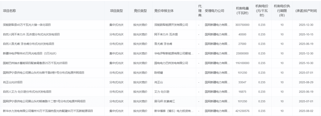
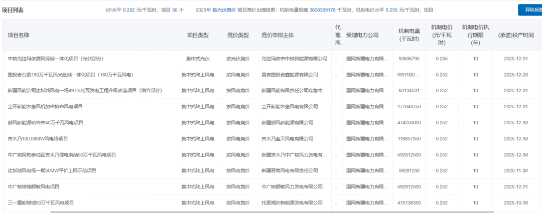
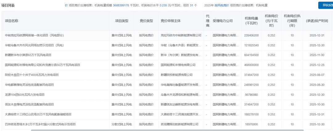
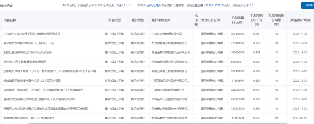
10月15日,国网新疆电力有限公司公示2025年度增量新能源项目机制电价竞价结果。根据公示,风电机制电量规模18,539,219,756千瓦时,机制电价0.252元/千瓦时,项目36个,其中集中式陆风项目34个,分散式陆风项目2个;光伏机制电量规模3,608,399,178千瓦时,机制电价0.235元/千瓦时,项目31个。
具体如下:






END

风电观察推荐
]article_adlist-->“消失”的三大风电整机巨头
全球风电安全事故报告发布
中国122个风机制造基地一览
风电整机商“四龙九虎”谁主沉浮
中船科技收购中国海装获批
风电“红色预警”再现
风机毛利率仅为3.64%,风电“内卷”加剧
]article_adlist-->

海量资讯、精准解读,尽在新浪财经APP
个人炒股配资,新股配资网,网上配资平台开户炒股提示:文章来自网络,不代表本站观点。